Your present location:Home >> All Products >> WRF series of coal-fired stove >> WRF series of coal-fired stove
  • Name:WRF series of coal-fired stove
  • Product ID:ce01
  • Register Date:2015-04-30
  • Views:871

First, the characteristics
1, high thermal efficiency, overall efficiency ≥75%.
2, the high degree of mechanization, stable, easy to operate.
3 of coals adaptable, you can use the calorific value of 4500 kcal / kg or more of a variety of coal.
4, dryer adaptable, with cross-flow, Francis, along countercurrent dryers and other drying equipment, heating facilities use.
5, low investment, low operating costs.
6, long life, the host life ≥ 10 years, ≥ 5 years exchanger.

Second, the main parameters and matching table

ModelApplicable coalApplicable coalHeat exchanger inlet flue gas temperatureHot air outlet air temperatureExhaust gas temperatureBlowerInduced draft fanCleaner
(straight length)
Coal loader
WZL-5
(120)
Ⅱ; Ⅲ kind of bituminous coal5×103MJ/h
(120×104Kcal/h)
≤800℃≤120℃≤200℃4-72;No3.6A
P=3KW
Y5-47;5.0C
P=7.5KW
No configuration stokerNo configuration stoker
WZL-7.5
(180)
7.5×103MJ/h
(180×104Kcal/h)
4-72;No4.0A
P=3KW
Y5-47;5.0C
P=15KW
3000mmHomemade common QRS inclined coal loader
WZL-10
(240)
10×103MJ/h
(240×104Kcal/h)
4-72;No4.0A
P=5.5KW
Y5-47;6C
P=22KW
3000mm
WZL-12.5
(300)
12.5×103MJ/h
(300×104Kcal/h)
4-72;No4.5A
P=7.5KW
Y5-47;8.0C
P=22KW
3000mm
WZL-15
(360)
15×103MJ/h
(360×104Kcal/h)
4-72;No4.5A
P=7.5KW
Y5-47;9.0C
P=30KW
3000mm
WZL-17.5
(420)
17.5×103MJ/h
(120×104Kcal/h)
4-72;No5A
P=15KW
Y5-47;9.0C
P=37KW
3000mm
WZL-20
(480)
20×103MJ/h
(480×104Kcal/h)
4-72;No5.0A
P=15KW
Y5-47;10C
P=37KW
3000mm
WZL-25
(600)
25×103MJ/h
(600×104Kcal/h)
4-72;No6.0A
P=15KW
Y5-47;10C
P=45KW
3400mm

Note: Form 1, the slag is "single-chain scraper slag machine." 2, Java machine models: outsourcing of DGZ; made for the LSC type.

 


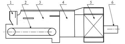
Third, the structure of FIG.

1. Hod
2. Grate
3. combustor
4. settling chamber
5. Heat chamber
6. hot air outlet


Add.: 98#, Huigong Street, Yinzhou District, Tieling City, Liaoning Province  Tel: 86-24-74565289 74501618  ax: 86-24-74564979

Webpage Copyright © 2012 Tieling Jingda Machinery Manufacturing Co., Ltd.